You must be logged in to download file.

Log in
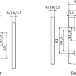
Measurements
OA-16-10X-09-10_meas-draw

COMPACT SHOWER

You must be logged in to download file.

Log in
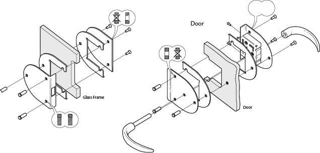
  • Modular and symmetrically designed lock specifically adapted for thin door applications such as shower doors.
  • Made of polished chrome brass.
  • All components are made of brass or SS316.
  • Variants are available for glass-to-glass or glass-to-frame installations.
  • The lock is compatible with all door swings.
  • Designed for 8, 10, or 12mm door thickness.
  • Curved handles for minimal protrusion.
  • Quick installation with a simple cutout.
Find your part number
Loading...
Part number

OA-16-10X-09-10

Application photos